Измельчители гранул комбикорма
Измельчители предназначены для измельчения гранул до необходимых размеров и получения крупки.
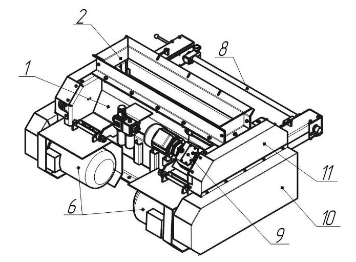
Продукт для измельчения поступает через питатель, который предназначен для равномерного распределения продукта по рабочей части механизма измельчения и помогает легко настроиться на нужную производительность.
Для направления продукта на вальцы или мимо вальцов служит шибер, который находится внутри корпуса измельчителя.
Поверхность вальцов имеет рифления для лучшего захвата и дробления гранул. Зазор между вальцами легко настраивается.
Привод валков осуществляется от электродвигателя через клиноременную передачу.
Технические характеристики
| Технические характеристики | ИГ-05 | ИГ-10 | |
| Производительность до, т/час | 5 | 10 | |
| Количество измельчающих валов, шт | 2 | 2 | |
| Размеры вальцов, мм | 160×1000 | 160×1400 | |
| Диапазон регулировки величины щели, мм | 0,5-3,0 | 0,5-3,0 | |
| Величина аварийной щели до, мм | 20 | 20 | |
| Время изменения величины щели, сек | 5 | 5 | |
| Мощность двигателей привода вальцов, кВт | Подвижный | 4 | 4 |
| Неподвижный | 7,5 | 11 | |
| Мощность привода мотор-редуктора, кВт | 0,37 | 0,37 | |
|
Скорость вращения вальцов, об/мин
|
Подвижный | 580 | 580 |
| Неподвижный | 698 | 698 | |
| Габаритные размеры, мм: | |||
| — Длина | 1 460 | 1 850 | |
| — Ширина | 1 280 | 1 280 | |
| — Высота | 760 | 760 | |
| Масса, кг | 775 | 935 | |










